30亿!强制执行!官司缠身哪家强,怒看苏宁苏大强!
扫描到手机,新闻随时看
扫一扫,用手机看文章
更加方便分享给朋友
“如果你不想当下一位维权的业主,那就千万别买苏宁地产的房子。”这是一句流传在苏宁业主之间,对买房人的一句经典忠告。
但,对于我们这帮苏宁悦城的业主来说,这忠告“来”的太晚了!
1、回顾!苏宁悦城往日种种皆是不堪!
苏宁集团自2018年以来在徐州突飞猛进的发展,与徐州的关系进入“蜜月期”,不知道是不是恃宠而骄,苏宁悦城作为徐州排名前列个住宅项目,做的是真寒心!
苏宁悦城分为A、B两个地块,共分三期开发建设。目前苏宁悦城一期、二期已经交付,品质问题一直饱受诟病。问题一:全国50强,墙是空心墙房间地面开裂严重、户门质量堪忧 、房间墙面空鼓严重、每层电梯到户门的公共区域只有一楼贴了瓷砖,导致其余楼层门把手与墙面接触的地方普遍出现凹陷。二期比先前(2018年)交付的一期更为严重。

数据来源:置业徐州
问题二:毛地坪大白墙,公共空间落渣强!地下车库入口处没有遮雨棚、地面是水泥地面、雨天积水、地下储藏室没有插座。不仅如此,绿化带的窖井盖是塑料材质,存在安全隐患。

数据来源:置业徐州
问题三:方圆五里新楼房,只有苏宁苏大强!针对种种问题,苏宁悦城的业主说,他们已经维权多次,业主们甚至联名请愿,但苏宁悦城方面一直没有正式的回复。苏宁作为一个大企业,没有一点大企业该有的态度,面对业主提出的问题一直敷衍应付,口头答应可又不了了之。

数据来源:置业徐州
追溯到苏宁来到徐州的排名前列个项目苏宁广场,开业当天,因拖欠工人工资被举旗抗议!这样的苏宁能交付,不烂尾就实属不易了!2、实探!买了苏宁悦城等于抢了一张维权门票!如今,我们业主终于等来了苏宁悦城三期云语轩。苏宁悦城三期云语轩2019年5月首开售卖,按照合同2021年12月交付。小编亲身来到了云语轩一探究竟,下面分享一下本次“跋山涉水”采集到的信息。经过一片泥泞,我们进到了苏宁三期云语轩的项目里。问题一:墙体外莫名悬挂的红管子

小编分析有以下几点:
1.工程队未统一按照装修图纸进行建设打孔;
2.若业主想要改变自己的装修方案,可向开发商进行申请,只要不破坏外立面即可。(是否影响到楼上楼下的住户存疑。)
3.施工单位工作人员自己购买的房子,关系户。
问题二:绿化犹如山体滑坡


实景和效果图可是天壤之别,小区绿化光秃秃,放眼望去全是水泥池。不知道到年底交付时,这些小树苗能不能长高。问题三:地下走道未有防雨装置

地下走道未有防雨装置,业主可以在线上演情深深雨蒙蒙。问题四:室内外渗水、漏水严重

外立面防水、各种结构衔接施工防水工程存在缺陷,造成室内外渗水严重。问题五:电梯小,装运大物件困难一梯一户,且电梯较小,后期业主装家具的运送可能会遇到麻烦。问题六:吊顶后居住空间较为压抑

吊顶后空间不足2.5m,左侧小编身高1.62m,举手距离房顶最多40cm;再看右侧在云龙湖峰荟,同事身高1.87m,距离房顶尚有60cm,没有对比没有伤害!!!问题七:墙体多处切开修补

墙体多处切开修补,维修后只是表面简单涂上一层涂料,日后问题将会反复出现。并且存在多处疑似“暴力开槽”现象,对墙体结构有造成损伤的隐患。问题八:水电管敷设前后工序混乱

水管敷设存在“墙体再开槽”的问题,导致部分电线管破裂,需要更换。问题九:门套缝隙过大

门套上口与顶面交界处缝隙过大。问题十:墙面与地砖缝隙不匀,地砖发霉

地砖发霉严重,墙面与地砖缝隙不匀明显,基本无法找补。问题十一:冷热阀门内嵌

冷热阀内嵌,没有留足尺寸,后期使用不便。问题十二:开关及插座堵塞

部分开关及插座,尚未使用就已锈迹斑斑,并且内部已经被堵住,无法正常使用。总体来说施工场地混乱,毛坯广泛存在同类问题:墙面渗水、墙体切开找补、地板空鼓、五金破损、工艺粗糙等,返工维修概率较大。并且房间里还有很多便便,后面是清洁走,还是直接盖在地上不得而知。

小编真是由衷的心疼苏宁业主!三期看下来,一期更比一期“强”,苏大强实锤了!苏宁的业主,听一句劝:无论你们投资也好,自住也罢,一定盯好自己的房屋质量,较好让有关部门协助大家,对自己的房子进行监督,合法维护自己的权益。3、50强房企配“强”产品,天生的墙没法治!苏宁置业企业不行,建的房子也不行,其实苏宁的“强”一直有迹可循。近些年苏宁内部风险不断,在全国各地苏宁置业楼盘维权问题频发。

苏宁置业的开庭公告共36件,其中含有合同纠纷、生命权、健康权、身体权纠纷、金融借款合同纠纷、技术合同纠纷等等。

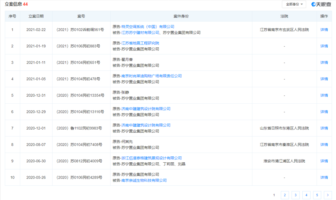
法律诉讼共41件、立案信息44件.....


除此之外,苏宁置业前几天才刚刚被执行高达三十多亿的执行金额。

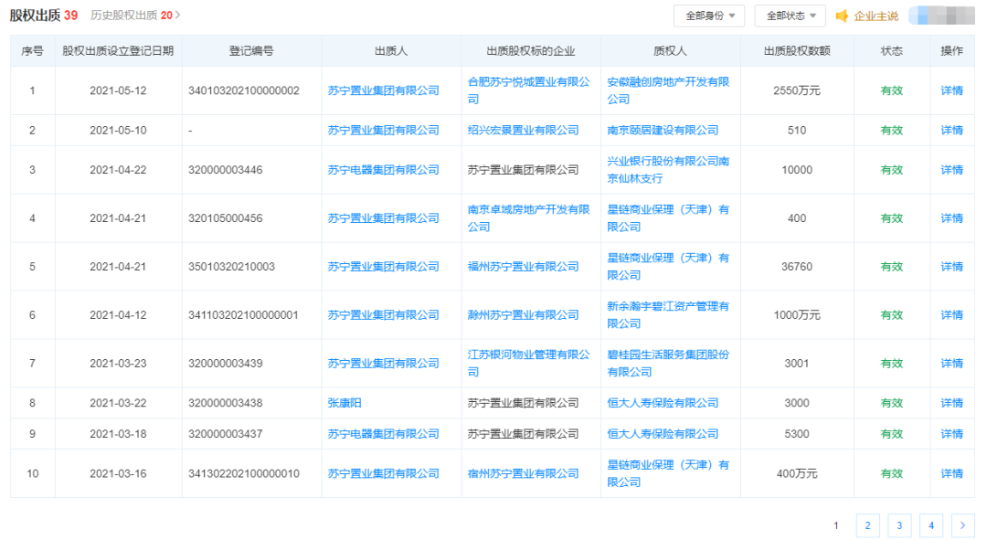
值得注意的是苏宁的股权出质成常态,截止今日已高达39次。

有限公司的股权出质意味着什么?有律师对此解释称,股东股权出质一般有两种情况:一是股东自己缺钱,欠了民间借贷,债权人要求公司以大股东的股权做质押;二是公司缺钱,比如公司经营不善,需要融资度日,无论是银行借款,或者民间融资,都有可能要求大股东用股权质押担保。我的天哪!就这种品质的房企建的这种品质房子你敢买吗?目前苏宁在徐州操盘的在售项目:璀璨云著。最后奉劝一下,还在看苏宁楼盘的客户。慎重!慎重!再慎重!
声明:本文由入驻焦点开放平台的作者撰写,除焦点官方账号外,观点仅代表作者本人,不代表焦点立场。


